Система живлення дизельних двигунів
У сучасних дизельних двигунів, у тому числі й у всіх вітчизняних моделей, застосована роздільна система упорскування палива в циліндри. Така система передбачає установку одного об'єднаного насоса високого тиску й окремих форсунок закритого типу на кожен циліндр двигуна.
Система живлення дизельних двигунів складається з ліній низького і високого тиску. По лінії низького тиску паливо подається з основного бака до насоса високого тиску. Лінія високого тиску служить для упорскування дозованої кількості палива в циліндри двигуна відповідно до порядку їхньої роботи.
Принципова схема системи живлення дизельного двигуна показана на мал. 1. Насос низького тиску 6 (практично цей насос установлюють звичайно на корпусі насоса високого тиску) засмоктує паливо з бака 1 через фільтр грубого очищення 7 у свою порожнину усмоктування. Далі цей насос нагнітає паливо через фільтр тонкого очищення 3, у паливний насос високого тиску 4. Останній упорскує його через форсунки 2 безпосередньо в камери згоряння двигуна. Надлишкове паливо разом з повітрям, що потрапило в систему, відводяться по дренажних трубках у паливний бак. У нього також зливається паливо, що проникло в порожнини пружин форсунок. Паливні баки, застосовувані на автомобілях з дизельними двигунами, розраховані на великий запас ходу (350-400 км); установлюють їх на кронштейнах, закріплюючи хомутами.
Усередині паливних баків виконані перегородки, що підвищують їхню міцність і запобігають хлюпанню палива.
У корпус бака уварена заливна горловина з герметично закриваючоюся пробкою, у якій розташовані два клапани: впускний, що відкривається при зниженні тиску до 0,097- 0,098 МПа, і випускний, що відкривається при підвищенні тиску в баці до 0,11-0,115 МПа.

Рис. 1. Принципова схема системи живлення дизельного двигуна:
1 - паливний бак; 2 - форсунка; 3 - фільтр тонкого очищення палива; 4 - паливний насос високого тиску; 5 - регулятор; 6 - паливний насос низького тиску; 7 - фільтр грубого очищення палива
ЛІНІЯ ПОДАЧІ ПАЛИВА НИЗЬКОГО ТИСКУ
У лінію низького тиску входять фільтри грубого і тонкого очищення палива, паливоподаючий насос з додатковим насосом для ручного прокачування системи і паливопроводи низького тиску.
Фільтр грубого очищення палива призначений для затримки великих часточок, що забруднюють паливо перед його подачею в паливоподаючий насос. Будову такого фільтра показано на мал. 2. Фільтр складається з корпуса 4, у якому розташований фільтруючий елемент 3, що складається із сітчастого металевого каркаса з навитим на нього ворсистим бавовняним шнуром. Паливо, проходячи між витками шнура, залишає на його ворсинках механічні домішки. Очищене паливо надходить у внутрішню порожнину фільтруючого елемента і далі в відвідний паливопровід. У нижній частині корпуса мається зливальний отвір із пробкою 5 для зливу відстою. Зверху корпус закритий кришкою 1 з ущільнювальною прокладкою 2. У кришці виконані гнізда з різьбленням для приєднання штуцерів що підводить і відводить паливопровід.
Фільтр тонкого очищення служить для остаточного очищення палива перед його подачею в паливний насос високого тиску. Його розташовують у найвищій точці системи живлення, що полегшує збір і видалення повітря, що потрапило в паливну систему.
Пристрій фільтра тонкого очищення показано на мал. 3. Він служить для більш ретельного очищення палива. Через середину корпуса цього фільтра проходить стрижень 5, на який надітий фільтруючий елемент 4 у виді сталевого сітчастого каркаса. Усередині каркаса проходить трубка з отворами, обмотана тканиною. На тканину нанесений спеціальний состав (деревне борошно, просочене пульвербакелитом), поверх якого накладено кілька витків марлі. З торців фільтруючий елемент закритий пластинчастими фланцями. До кришки корпуса фільтра елемент притискається циліндричною пружиною 2 за допомогою шайби 3. У кришці розташований жиклер 6, через який у зливальний трубопровід проходить частина палива і повітря, що потрапила в систему. Відстій зливається через пробку 1.
В даний час використовуються фільтри зі змінним паперовим патроном, що, зокрема , застосовується на автомобілях КАМАЗ.
Паливоподаючий насос поршневого типу застосовують у більшості автомобільних дизельних двигунів. Будову такого насоса показане на мал. 4.

Рис. 2. Фільтр грубого очищення палива:
1 - кришка; 2 - прокладка; 3 - фільтруючий елемент; 4 - корпус; 5 - пробка для зливу відстою
Рис. 3. Фільтр тонкого очищення палива:
1 - пробка для зливу відстою; 2 - пружина; 3 - шайба; 4 - фільтруючий елемент; 5 - стрижень; 6 - жиклер; І - зливши палива; ІІ - до насоса високого тиску

Рис. 4. Паливоподаючий насос:
а - основний насос, що подає; б - ручний насос, що підкачує; І - корпус; 2 - дренажний канал; 3 і ІІ - поршні; 4 - возпратная пружина поршня; 5 - пробка; 6 - шток; 7 і 13 - клапани; 8 і 12 - пружини; 9 - рукоятка; 10 - цнлиндр ручного насоса
Розміщений в корпусі 1 поршень 3 переміщається в одному напрямку під дією штока 6, що піднімається ексцентриком на кулачковому валу насоса. Усередині поршня встановлена пружина 4 (опорою для неї служить виточення в пробці 5), що повертає поршень у зворотному напрямку. У корпус насоса паливо надходить через клапан 7, що відкривається під дією розрідження і закривається під тиском пружини 8. До насоса високого тиску паливо подається при відкритті клапана 13, навантаженого пружиною 12.
Робота паливоподаючого насосу показана на мал. 5. Поршень 3, переміщаючи під дією штока 4, витісняє паливо з порожнини А через нагнітальний клапан, що відкривається, 1 у порожнину Б. Коли поршень змінює напрямок свого руху і переміщається під дією пружини 8, тиск у порожнині Б підвищується і паливо подається до насоса високого тиску. Під час цього ходу під поршнем створюється розрідження, у результаті чого впускний клапан 2 відкривається і паливо надходить з бака через фільтр грубого очищення в порожнину насоса А.
Якщо треба підкачати паливо при непрацюючому двигуні, користаються насосом з ручним приводом, установленим на паливоподаючому насосі.
Паливопроводи
У лінії низького тиску використовуються трубопроводи, виготовлені зі сталі, міді чи маслобензостойкої пластмаси. У лінії високого тиску застосовують сталеві трубопроводи великої міцності, по кінцях яких зроблені висадження для утримання накидних гайок, що кріплять їх до штуцерів паливного насоса високого тиску і до форсунок.
ЛІНІЯ ПОДАЧІ ПАЛИВА ВИСОКОГО ТИСКУ
Для забезпечення гарного розпилення палива, що впорскується в середовище щільно стиснутого повітря, необхідно подавати його під високим тиском. З цією метою дизельні двигуни мають насос високого тиску, що разом з форсунками і трубопроводами утворить лінію високого тиску.
У циліндри двигуна під дією насоса високого тиску через форсунки закритого типу в строго визначених дозах (у залежності від навантаження двигуна і режиму його роботи) упорскується паливо.

Рис. 5. Схема роботи паливоподаючого насоса:
а - рух поршня вниз - паливо подається до насоса високого тиску; б - рух поршня нагору - паливо заповнює порожнину Б; 1 - нагнітальний і 2 - впускний клапани; 3 - поршень; 4 - шток; 5 - ролик; 6 - кулачок вала приводу; 7 і 8 - пружини; А и Б - порожнини
Таким чином, паливний насос високого тиску насамперед відміряє визначені дози палива, подавані в кожен циліндр за один робочий хід. Тому що ці дози повинні бути дуже незначними й однаковими для кожного циліндра. Насоси високого тиску виконують з великим ступенем точності.
Паливо подають паливним насосом високого тиску в строго визначений момент, за дуже короткий проміжок часу, з можливістю зміни моменту випередження упорскування стосовно проходу поршня через в.м.т. наприкінці ходу стиску. Паливний насос обслуговує всі циліндри двигуна.
Паливні насоси високого тиску, застосовувані в сучасних автомобільних дизельних двигунах, відносяться до плунжерного типу з окремою секцією на кожен циліндр двигуна. Усі секції об'єднані в одному корпусі і приводяться в дію від загального кулачкового вала, що одержує обертання через шестерний привід від розподільного вала двигуна.
У більшості насосів високого тиску всі плунжерні секції розташовані в один ряд, у деяких насосів, наприклад установлюваних на двигунах ЯМЗ-740, плунжерні секції розташовуються в два ряди під кутом 75° одна до іншої.
Пристрій насоса високого тиску показане на мал. 6. Він складається з корпуса 7 насоса, плунжерних секцій, кулачкового вала 1, регулятора частоти обертання і муфти випередження упорскування. Кожна секція насоса являє собою гільзу 11 із плунжером, що рухається усередині неї, 12.
Гільзи встановлені в розточеннях корпуса насоса і фіксуються в ньому стопорними гвинтами 6. Верхній отвір у гільзі впускний, він сполучається з каналом Б підведення палива в корпусі насоса. Нижній (пропускний) отвір у гільзі з'єднано з каналом А відводу палива. На зовнішній поверхні верхньої частини плунжера мається кругова проточка. Вище її розташований фасонний паз, що починається знизу гвинтовою канавкою і закінчується прямолінійною вертикальною канавкою. Цей паз з'єднує простір над плунжером з кільцевою порожниною, утвореною круговим виточенням на плунжері. Зверху до гільзи прилягає сідло нагнітального клапана 10, що притискається до торцевої поверхні гільзи штуцером 8, укрученим у корпус насоса. До штуцера приєднаний нагнітальний трубопровід високого тиску.
Плунжери всіх секцій приводяться в рух від загального кулачкового вала 1, розташованого в нижній частині корпуса і встановленого на конічних роликових підшипниках. Кулачок діє на плунжер 12 через роликовий штовхальник 18, що постійно притискається до кулачка пружиною 15. Під дією цієї пружини, що спирається на тарілку 2, плунжер рухається вниз. Провертанню штовхальника перешкоджає вісь 19 ролика, що має виступи, що входять у пази на розточеннях корпуса. Ролик 21 штовхальника встановлений на втулці, що плаває, 20. Для регулювання моменту початку подачі палива в штовхальник 18 укручений регулювальний гвинт 16, що фіксується у визначеному положенні контргайкою 17.
Рис. 6. Поперечний розріз насоса високого тиску:
1 - кулачковый вал; 2 - нижня тарілка; 3 - поворотна втулка; 4 - верхня тарілка; 5 - зубцюватий сектор; 6 - стопорний гвинт; 7 - корпус; 8 - штуцер; 9 - пружина нагнітального клапана; 10 - нагнітальний клапан; 11 - гільза; 12 - плунжер; 13 - гвинт обмеження ходу рейки; 14 - пальці ведучої напівмуфти; 15 - пружина; 16 - регулювальний БИНТ; 17 - контргайка; 18 - штовхальник; 19 - вісь ролика; 20 - втулка, що плаває; 21 - ролик; А и Б - канали відводу і підведення палива.
Розглянемо роботу насоса високого тиску. Коли плунжер 2 (мал. 7) опускається (положення І), простір над ним заповнюється паливом, що надходить через отвір Д в гільзі 1 і канал Б (див. мал. 6) підведення палива. При русі плунжера нагору (мал. 7, положення ІІ) цей отвір перекривається торцевою крайкою плунжера і тиск у просторі над плунжером підвищується. Зі збільшенням тиску до 1,2-1,8 МПа відкривається нагнітальний клапан 10 (див. мал. 6) і паливо через штуцер каналу А відводу палива і трубопровід високого тиску надходить до форсунки. Плунжер продовжує підніматися і відповідно підвищує тиск.

Рис. 7. Плунжер форсунки:
а - схема роботи; б - нагнітальний клапан; 1 - гільза; 2 - плунжер; 3 - робоча гвинтова канавка плунжера; 4 - корпус нагнітального клапана; 5 - нагнітальний клапан; А и Б - пропускні отвори плунжера і гільзи; В и Е - паливні канали в корпусі насоса; Г - розвантажувальний пасок клапана; Д - вхідний отвір; Ж - горизонтальний отвір плунжера; 3 - неробоча гвинтова канавка плунжера; І - заповнення гільзи паливом; ІІ й ІІІ - положення плунжера на початку і кінці середньої подачі; ІV і V - положення плунжера при повній і нульовій подачах,
Коли його величина досягає 15 МПа, піднімається голка форсунки і доза палива, подана насосом, впорскується в циліндр двигуна. При підході плунжера до в.м.т. (мал. 7, положення ///) його крайка відкриває пропускний отвір Б гільзи, що з'єднує порожнину гільзи з каналом, що відводить, у результаті чого тиск над плунжером і в трубопроводі, що веде до форсунки, падає. Нагнітальний клапан закривається, і надходження палива в циліндр припиняється. Для більш кращого процесу згоряння необхідно, щоб подача палива завершувалася чітким відсіченням. Для цього на нагнітальному клапані 5 роблять розвантажувальний пасок Г, що збільшує обсяг у паливопроводі між форсункою і клапаном.
Величина дози палива, що впорскується, залежить від тривалості подачі, тобто від моменту відкриття крайкою гвинтової канавки і плунжера пропускного отвору Б. Чим пізніше відкривається пропускний отвір, тим більша кількість палива впорскується в циліндр. Більш раннє відкриття пропускного отвору зменшує кількість палива, що впорскується.
Для зміни тривалості упорскування плунжер повертають так, щоб крайка гвинтоподібної канавки раніш чи пізніше відкрила пропускний отвір.
Для повороту плунжера в гільзі кожної секції мається втулка. У верхній частині ця втулка несе на собі зубцюватий вінець, утримуваний стяжним гвинтом, а в нижній частині виконані два вертикальних пази, у котрі входять повідці плунжера. Завдяки великій довжині пазів повідці можуть переміщатися в них на всю довжину ходу плунжера.
З зубцюватими вінцями всіх секцій знаходиться в зачепленні зубцювата рейка, встановлена в корпусі насоса високого тиску, і приводи системою тяг від відцентрового регулятора, що керує подачею палива.
Подовжнє переміщення рейки викликає поворот утулок на гільзах і відповідне зміна положення плунжерів. Усуваючи рейку в корпус насоса, збільшують подачу палива, а висуваючи - зменшують.
Момент подачі палива в циліндр повинний бути зв'язаний з положенням його поршня. Надходження палива в циліндр повинне завершуватися до приходу поршня у в.м.т. Зі збільшенням частоти обертання вала двигуна зменшується час кожного ходу поршня. Відповідно повинний змінюватися і момент подачі палива, щоб уся порція вприснутого палива встигла запалитися і згоріти в той час, коли поршень знаходиться біля в.м.т.
Кут випередження подачі палива змінюється поворотом кулачкового вала насоса. При повороті кулачкового вала по напрямку його обертання кут випередження подачі палива збільшується, проти - зменшується. Змінюється кут випередження автоматично під дією відцентрової муфти, установленої на передньому кінці кулачкового вала насоса.
Між моментом початку подачі палива насосом, обумовленим відкриттям нагнітального клапана, і моментом упорскування палива форсункою мається невелика різниця в часі. Це пояснюється деякою деформацією паливопровода високого тиску і стискальністю палива.
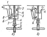
Форсунки, застосовувані на сучасних дизельних двигунах, закритого типу з гідравлічним підйомом голки, тобто прохідний перетин розпилювача перекривається голкою, що піднімається тиском палива в момент упорскування.
На мал. 8 показаний пристрій форсунки закритого типу. Вона складається зі сталевого корпуса 4, до якого гайкою 3 приєднаний корпус 2 розпилювача. У корпусі розпилювача встановлена голка І, що складає разом з корпусом розподільника прецизійну пару. У нижній частині розпилювача маються чотири соплових отвори для упорскування палива.